项目介绍——gitee.98
一、项目介绍
本项目为基于 Spring Boot + Vue 的个人健康管理系统,分为 管理员(后台) 与 普通用户两类角色。系统已实现的主要功能如下:
管理员:
- 基本操作:登录、修改密码、获取/修改个人信息、登出。
- 用户管理:用户列表/详情/新增/修改/删除、重置密码、注册审核与会话管理
- 健康模型管理:健康模型配置的全面 CRUD、模型参数设置、模板下载。
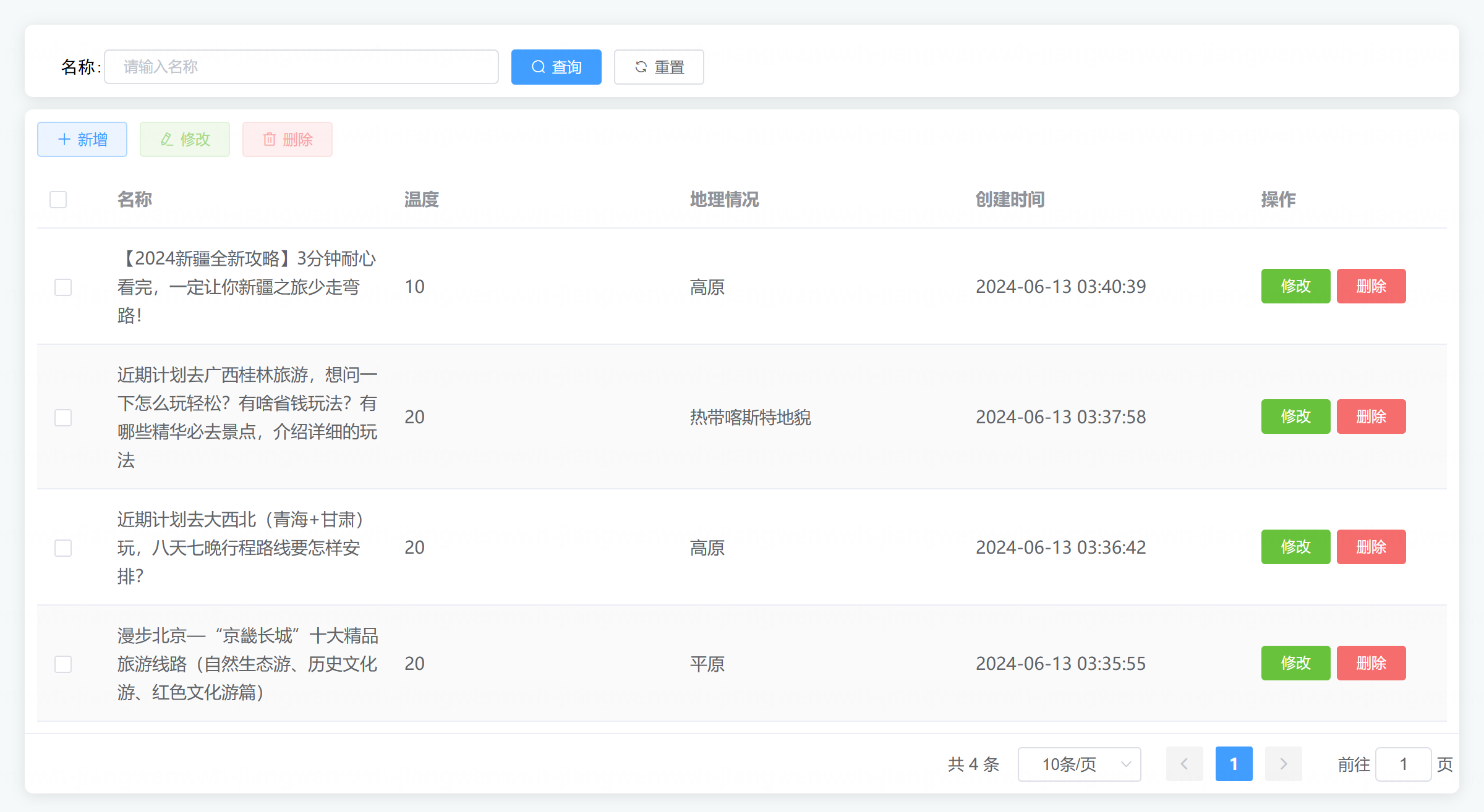
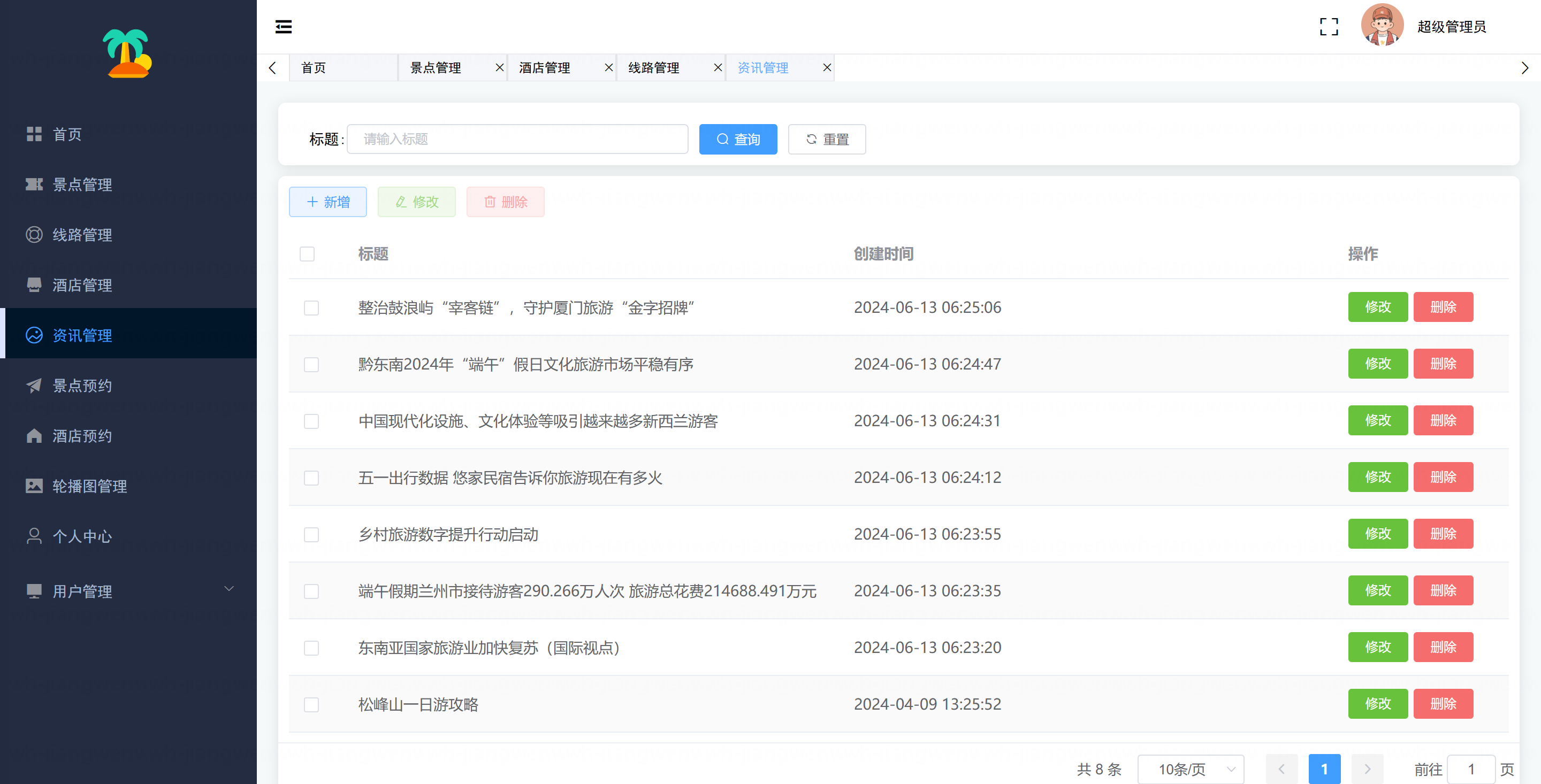
- 健康资讯管理:健康资讯发布/修改/删除/查询管理。
- 用户健康数据管理:用户健康记录的查看、统计分析与数据导出
- 评估管理:健康评估标准设置、评估结果管理
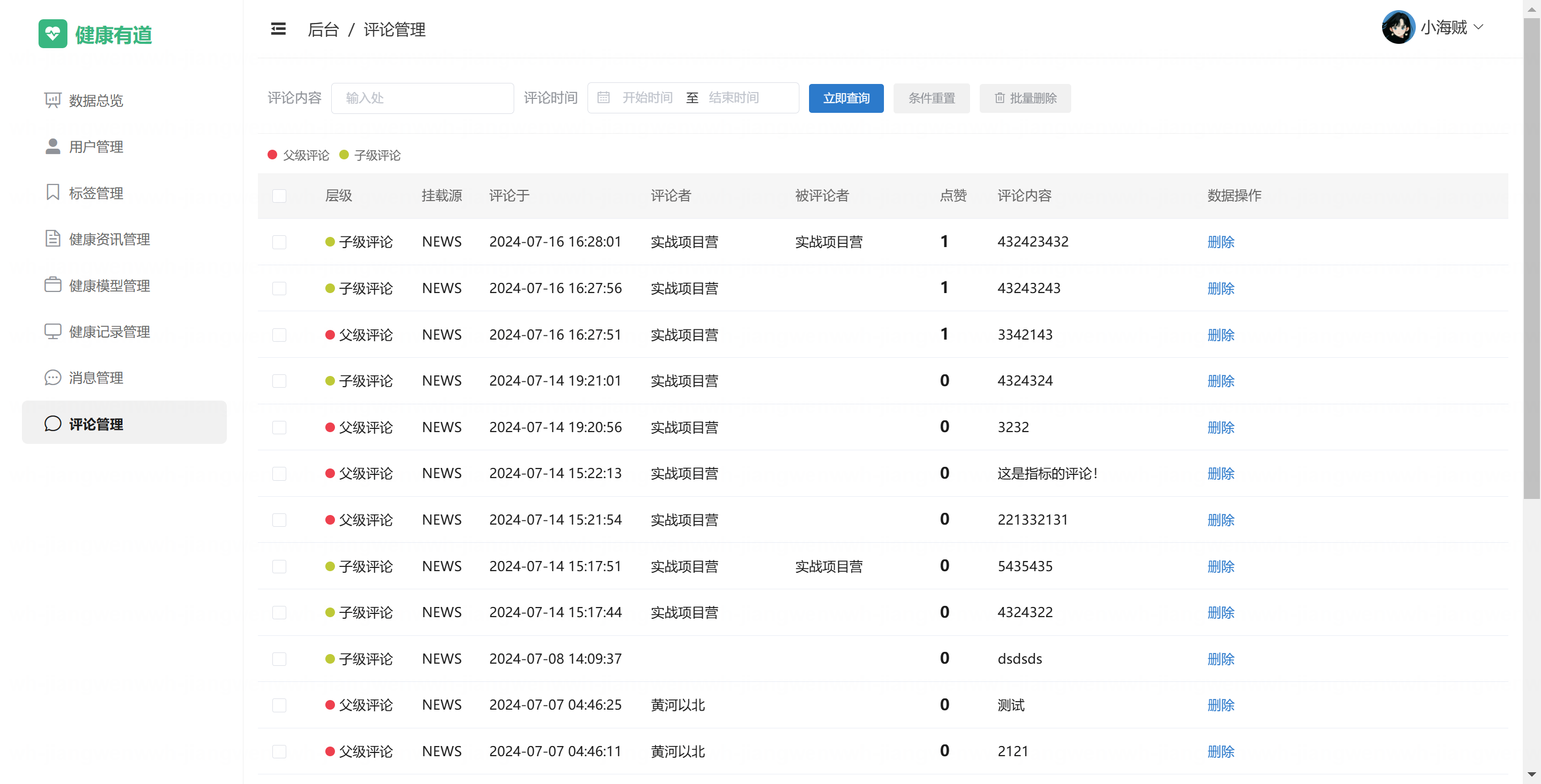
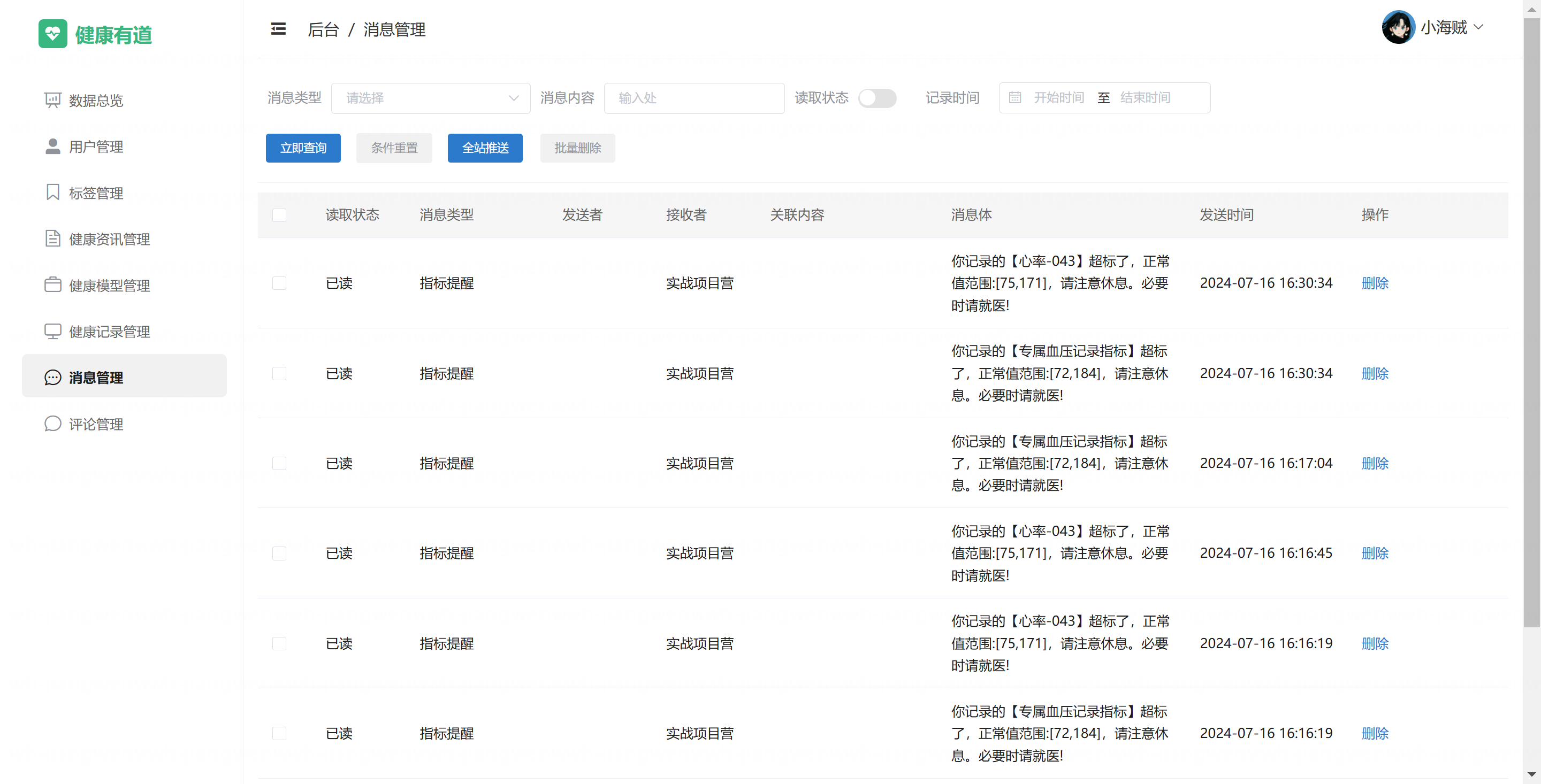
- 消息管理:系统消息发布与用户消息管理
- 标签管理:健康标签的创建、编辑与分类管理
普通用户:
- 基本操作:登录、修改密码、获取/修改个人信息、登出。
- 健康记录管理:录入个人健康数据(血压、心率、体重、身高等)、查看历史记录
- 健康模型选择:选择适合的健康模型、自定义健康监测指标
- 健康资讯浏览:查看健康资讯列表与详情、收藏感兴趣的内容
- 健康评估:基于录入数据进行健康评估、查看评估报告
- 数据统计:个人健康数据的图表展示与趋势分析
二、项目技术
- 编程语言:Java
- 后端框架:Spring Boot 2.2.4, Spring MVC,MyBatis,MySQL,Fastjson2,Lombok, Apache Commons,JWT
- 前端框架:Vue 2 + vue-router,Element UI,axios,Echarts(图表展示),Wangeditor(富文本编辑器)
三、运行环境
- JDK版本:1.8及以上都可以
- 操作系统:Windows7/10、MacOS
- 开发工具:IDEA、Ecplise、MyEclipse都可以
- 数据库: MySQL5.5/5.7/8.0版本都可以
- npm版本:6.14.13及以上都可以
- Redis版本:3.2.100及以上都可以
四、运行截图
论文截图:
程序截图:




